Ronstan Stainless Steel Swivel Shackle, 5/32" Pins, Slotted Head RF576
Ronstan Stainless Steel Swivel Shackle, 5/32" Pins, Slotted Head RF576 is backordered and will ship as soon as it is back in stock.
Couldn't load pickup availability
Description
Description
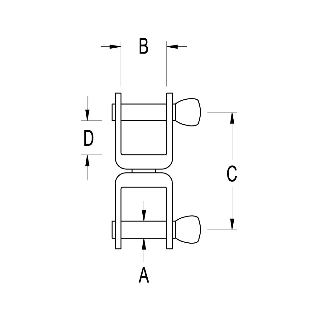
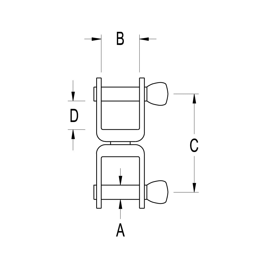
Grade 316 stainless steel Swivel Shackle, 5/32" diameter pins with slotted shackle pin heads.
Specifications
| Weight (g) | 10 |
|---|---|
| P.L. B.L. (kg) | 350 |
| U.D.L. B.L. (kg) | 500 |
| Shackle Pin Product No. | RF31 |
| Notes: | UDL BL – The “Uniformly Distributed Load” breaking load of the shackle; the load is applied across the full span of the shackle pin. PL BL – The “Point Load” breaking load of the shackle; the load is only applied at the centre or one side of the shackle pin. |
Specification Details
| A (mm) | 4 |
|---|---|
| B (mm) | 10 |
| C (mm) | 22 |
| D (mm) | 6 |
Delivery and Shipping
Delivery and Shipping
Most orders will be shipped same day if placed prior to 11am our time.
We offer a flat rate standard shipping of $15 on smaller items this covers the labor charge to pack and send your item along with consumables such as packaging, tape etc.
for orders under $200 express post will be $18.50
For orders over $200 we offer Free standard shipping This Excludes Paints, heavy items and bulky items
For express post on order over $200 will be an additional $4
Please note we do not ship some items such as paints, flares, heavy items like chain and anchors.
Some bulky and heavy items will have a freight surcharge added in you cart prior to check out.


